Davlumbaz egzoz debisini DW 172 standartlarına göre aşağıdaki linkten yazılım ile kolay bir şekilde hesaplayabilirsiniz.
Proje bütününde verim alınabilmesi için sadece davlumbaz debisi yeterli değildir.
Hem filtre seçiminde hem ısıtma / soğutma hem de havalandırma için diğer standartları da dikkate alarak proje oluşturmanızı öneririz.
Tüm projelendirmeleriniz için firmamız ile iletişime geçebilirsiniz.
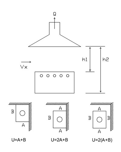
Mutfak havalandırmasında en uygun çözümlerden biri davlumbaz kullanmaktır. Mutfak davlumbazları ile kokuyu, ısıyı ve nemi kaynağı üzerinde yakalamak imkanı vardır. Davlumbazlarla gerçekleştirilen lokal havalandırma sayesinde, hava miktarlarını azaltmak mümkün olabilmektedir. Şekil 14.48'de mutfak davlumbazı hesabı verilmiştir. Davlumbazın iyi çalışması için davlumbaz ağzında belirli hava akış hızları sağlanmalıdır. Davlumbaz ne kadar iyi yerleştirilmişse, daha az hava debisiyle çalışabilir. Bunun için mümkün olduğu kadar ocağı ve davlumbazı köşeye yerleştirmelidir. Şekilde görüldüğü üzere oda ortasındaki davlumbazda, köşeye yerleştirilen davlumbaza göre iki misli daha fazla hava çekmek gerekmektedir. Çünkü hesaba giren çevre, oda ortasında iki misli daha fazladır.
Şekil 14.49 ve 14.50'de klasik davlumbaz uygulamaları ve ölçüleri verilmiştir. Davlumbaz malzemesi olarak krom nikel alaşımlı sac, alüminyum veya bakır kullanılabilir. Davlumbazlar genellikle ışıklandırılır. Çeşitli örnek kanal uygulamaları Şekil 14.51 ve 14.52'de gösterilmiştir.
Q = 2.h1.U.Vx
Q = Debi (m / s)
Vx = Davlumbaz ağızındaki akış hızı (m /sn)
U = Davlumbazın çevresi ( m )
Davlumbazın yerden yüksekliği max. 2.1 m olmalıdır. ( h2 )
Davlumbaz kenarlarında hız 0,3 - 0,4 m/sn alınabilir.
Çevre hesaplanırken duvara
gelen kenarlar dikkate alınmaz.
Q 1.463 m3 / hm2 DAVLUMBAZ ALANI
YÜZEY ALANI BAŞINA 910 m3 / hm2 DEĞERİNDEN AZ DEĞİL
KANAL HIZI = 5 - 20 m / sn
he = ( FİLTRE DİRENCİ + 2,5mmSS ) + VPd ( DÜZ KENARLI DAVLUMBAZ )
he = ( FİLTRE DİRENCİ + 2,5mmSS ) + VPd ( KIVRILMIŞ KENARLI DAVLUMBAZ )
Q 2.280 m3 / hm2 DAVLUMBAZ ALANI
YÜZEY ALANI BAŞINA 910 m3 / hm2 DEĞERİNDEN AZ DEĞİL
KANAL HIZI = 5 - 20 m / sn
he = ( FİLTRE DİRENCİ + 2,5mmSS ) + VPd ( DÜZ KENARLI DAVLUMBAZ )
he = ( FİLTRE DİRENCİ + 2,5mmSS ) + VPd ( KIVRILMIŞ KENARLI DAVLUMBAZ )
Q 3.200 m3 / hm2 DAVLUMBAZ ALANI
YÜZEY ALANI BAŞINA 910 m3 / hm2 DEĞERİNDEN AZ DEĞİL
EN KÜÇÜK KANAL HIZI = 5 - 20 m / sn
he = ( FİLTRE DİRENCİ + 2,5mmSS ) +0,5 VPd ( DÜZ KENARLI DAVLUMBAZ )
he = ( FİLTRE DİRENCİ + 2,5mmSS ) + 0,25 VPd ( KIVRILMIŞ KENARLI DAVLUMBAZ )
Fitreler :
1. Pratik filtre boyutu seç
2. İmalatçı verilerinden gerekli filtre sayısını belirle (Genellikle 5285m3 / saat her m2 filtre alanı başına)
3. Yatayla 450 – 600 açı yapacak şekilde yerleştirin.
4. Filtre montaj yüksekliği
• Açık alevli olmayan ocaklarda 45cm. filtre alt kenarından itibaren minimum
• Kömür alevi gibi açık alevlerde filtrenin alt kenarına kadar minimum130cm.
5. Filtreleri direkt radyoaktif ısıya karşı korumalıdır.
6. Yerinden çıkartılabilen bir yağ toplama tavası bulunmalıdır.
7. Tavayı ve filtreyi muntazam aralıklarla temizleyin
Fan :
1. Yukarı doğru üflemeli fan kullanın. Aşağı üflemeli tavsiye edilmez.
2. Fanı, dizayn debisi Q, filtre ve kanalların direnci SP’ye göre seçiniz.
3. Fan spesifikasyonlarını, beklenen egzoz havası sıcaklığına göre ayarlayınız.
